ಕಾರ್ ಪಾರ್ಕಿಂಗ್ ಅನ್ನು ಮತ್ತಷ್ಟು ಸುಲಭಗೊಳಿಸಲಿದೆ ಟೊಯೊಟಾ ಕಂಪನಿಯ ಈ ಹೊಸ ತಂತ್ರಜ್ಞಾನ
ಜಗತ್ತಿನಾದ್ಯಂತ ಆಟೋ ಉದ್ಯಮದಲ್ಲಿ ದಿನಕ್ಕೊಂದು ಹೊಸ ಹೊಸ ಆವಿಷ್ಕಾರಗಳು ನಡೆಯುತ್ತಲೇ ಇರುತ್ತವೆ. ಪ್ರಮುಖ ಆಟೋ ಕಂಪನಿಗಳು ತಮ್ಮ ಹೊಸ ತಂತ್ರಜ್ಞಾನ ಪ್ರೇರಿತ ವಾಹನಗಳನ್ನು ಈಗಾಗಲೇ ಬಿಡುಗಡೆ ಮಾಡಿದ್ದು, ಇದೀಗ ಟೊಯೊಟಾ ಕೂಡಾ ಸುಧಾರಿತ ತಂತ್ರಜ್ಞಾನ ಪ್ರೇರಿತ ಪಾರ್ಕಿಂಗ್ ಸೌಲಭ್ಯವುಳ್ಳ ವಾಹನ ಮಾದರಿಗಳ ತಯಾರಿಕೆ ಮುಂದಾಗಿದೆ.

ಹೆಚ್ಚುತ್ತಿರುವ ವಾಹನಗಳಿಂದಾಗಿ ಪಾರ್ಕಿಂಗ್ ಸಮಸ್ಯೆ ಇದೀಗ ಪ್ರಮುಖ ನಗರಗಳಲ್ಲಿ ಅತಿ ದೊಡ್ಡ ಸಮಸ್ಯೆಯಾಗಿ ಪರಿಣಮಿಸಿದ್ದು, ಪಾರ್ಕಿಂಗ್ ಸಮಸ್ಯೆಯನ್ನು ಸಮರ್ಥ್ಯವಾಗಿ ನಿರ್ವಹಿಸಲು ಟೊಯೊಟಾ ಕಂಪನಿಯು ಸುಧಾರಿತ ತಂತ್ರಜ್ಞಾನ ಪ್ರೇರಿತ ಪಾರ್ಕಿಂಗ್ ತಂತ್ರಜ್ಞಾನ ಅಭಿವೃದ್ದಿಪಡಿಸಿದೆ. ಇದು ಪಾರ್ಕಿಂಗ್ ಸಮಸ್ಯೆಯನ್ನು ನಿವಾರಿಸಲು ಸಹಕಾರಿಯಾಗಲಿದ್ದು, ಹೊಸ ತಂತ್ರಜ್ಞಾನ ಬಳಕೆ ಮಾಡಲು ಟೊಯೊಟಾ ಕಂಪನಿಯು ಈಗಾಗಲೇ ಪೇಟೆಂಟ್ ದಾಖಲಿಸಿದೆ.

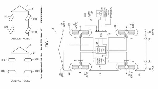
ಭವಿಷ್ಯ ವಾಹನಗಳಲ್ಲಿ ವಿಭಿನ್ನ ಕೋನಗಳಲ್ಲಿ ಚಲಿಸಬಹುದಾದ ಚಕ್ರಗಳನ್ನು ಜೋಡಣೆ ಮಾಡಲಿರುವ ಟೊಯೊಟಾ ಕಂಪನಿಯು ಪಾರ್ಕಿಂಗ್ ಸಮಸ್ಯೆ ನಿವಾರಿಸಲಿದ್ದು, ಮುಂಬರುವ ಎಲೆಕ್ಟ್ರಿಕ್ ಕಾರುಗಳಲ್ಲಿ ಹೊಸ ತಂತ್ರಜ್ಞಾನವು ಜೋಡಣೆಯಾಗಲಿದೆ.

ಹೊಸ ತಂತ್ರಜ್ಞಾನ ಜೋಡಣೆಯಿಂದ ಕಾರುಗಳು ಟ್ರಾಫಿಕ್ ಸ್ಥಳಗಳಲ್ಲಿ ಸುಗಮವಾಗಿ ಪಾರ್ಕಿಂಗ್ ಮಾಡಬಹುದಾಗಿದ್ದು, ನಾಲ್ಕು ಚಕ್ರಗಳನ್ನು ಪಾರ್ಶ್ವ ಶೈಲಿಯಲ್ಲಿ ತಿರುಗಿಸಬಹುದಾದ ಸೌಲಭ್ಯವನ್ನು ಒಳಗೊಂಡಿದೆ.

ಹೊಸ ತಂತ್ರಜ್ಞಾನದಿಂದಾಗಿ ಪಾರ್ಕಿಂಗ್ ಸೌಲಭ್ಯವನ್ನು ಸುಲಭವಾಗಿಸುವ ವಿವಿಧ ಕೋನಗಳಲ್ಲಿ ಚಲಿಸುವ ಚಕ್ರಗಳು ಅತಿ ಕಡಿಮೆ ಸ್ಥಳಾವಕಾಶದೊಂದಿಗೆ ಪಾರ್ಕಿಂಗ್ ಹೊಂದಿಸಬಹುದಾಗಿದ್ದು, ಪ್ರತಿ ಚಕ್ರ ರಚನೆಗೆ ಹೇಗೆ ರಚಿಸಲಾಗಿದೆ ಎಂಬುದನ್ನು ಪೇಟೆಂಟ್ನ ಚಿತ್ರಗಳಲ್ಲಿ ವಿವರಿಸಲಾಗಿದೆ.

ಇನ್ನು ಭವಿಷ್ಯ ಯೋಜನೆಗಳಿಗಾಗಿ ಹಲವಾರು ಹೊಸ ಕಾರು ಮಾದರಿಗಳನ್ನು ಸಿದ್ದಪಡಿಸಿರುವ ಟೊಯೊಟಾ ಕಂಪನಿಯು ಹೈಬ್ರಿಡ್ ಮತ್ತು ಎಲೆಕ್ಟ್ರಿಕ್ ವಾಹನಗಳನ್ನು ಅಭಿವೃದ್ಧಿಗೊಳಿಸಿದ್ದು, ಶೀಘ್ರದಲ್ಲೇ ಭಾರತ ಸೇರಿದಂತೆ ವಿವಿಧ ಅಂತರ್ರಾಷ್ಟ್ರೀಯ ಮಾರುಕಟ್ಟೆಗಳಿಗೆ ಪರಿಚಯಿಸಲಿದೆ.
MOST READ: ಹೊಸ ಪೊಲೊ ಕಾರು ವಿತರಣೆ ಮಾಡಿದ ಎರಡೇ ನಿಮಿಷದಲ್ಲಿ ನಡೆಯಿತು ಅಪಘಾತ..!

ಸದ್ಯ ಆಟೋ ಉದ್ಯಮ ಸೇರಿದಂತೆ ಎಲ್ಲಾ ವಲಯದಲ್ಲೂ ಕರೋನಾ ವೈರಸ್ ಮಹಾಮಾರಿಯಿಂದಾಗಿ ಆರ್ಥಿಕ ಸಂಕಷ್ಟವು ಎದುರಾಗಿದ್ದು, ವ್ಯಾಪಾರ ಅಭಿವೃದ್ದಿಯು ಇದೀಗ ಹೊಸ ಸವಾಲಾಗಿ ಪರಿಣಮಿಸಿದೆ. ಸದ್ಯಕ್ಕೆ ಆಟೋ ಉದ್ಯಮಕ್ಕೆ ಕೆಲವು ವಿನಾಯ್ತಿಗಳನ್ನು ನೀಡಲಾಗಿದ್ದರೂ ಸಹ ವಾಹನ ಖರೀದಿದಾರರು ಇಲ್ಲದೆ ಪರದಾಡುವಂತಹ ಪರಿಸ್ಥಿತಿ ಎದುರಾಗಿದೆ.
MOST READ: ರೂ.5 ಲಕ್ಷಕ್ಕಿಂತ ಕಡಿಮೆ ಬೆಲೆಯ ಜನಪ್ರಿಯ ಕಾರುಗಳಿವು

ಲಾಕ್ಡೌನ್ನಿಂದಾಗಿ ಬಹುತೇಕ ವಾಣಿಜ್ಯ ಚಟುವಟಿಕೆಗಳು ನೆಲಕಚ್ಚಿದ್ದು, ಎಲ್ಲಾ ಕ್ಷೇತ್ರಗಳಲ್ಲೂ ಉದ್ಯೋಗದ ಅಭದ್ರತೆ ಇದೀಗ ಅತಿ ದೊಡ್ಡ ಸಮಸ್ಯೆಯಾಗಿ ಕಾಡತೋಡಗಿದೆ. ಹೀಗಿರುವಾಗ ಹೊಸ ವಾಹನಗಳ ಮಾರಾಟವನ್ನು ಸರಿದಾರಿಗೆ ತರಲು ಯತ್ನಿಸುತ್ತಿರುವ ಬಹುತೇಕ ಆಟೋ ಕಂಪನಿಗಳು ಕೆಲವು ಮಹತ್ವದ ನಿರ್ಧಾರಗಳನ್ನು ಪ್ರಕಟಿಸುತ್ತಿವೆ. ಟೊಯೊಟಾ ಕೂಡಾ ವಿವಿಧ ಕಾರು ಮಾದರಿಗಳ ಮೇಲೆ ವಿಶೇಷ ಆಫರ್ಗಳನ್ನು ಘೋಷಣೆ ಮಾಡಿದೆ.

ಲಾಕ್ಡೌನ್ಗೂ ಮೊದಲು ಬುಕ್ಕಿಂಗ್ ಮಾಡಿ ಹೊಸ ವಾಹನಗಳ ಖರೀದಿಯ ಸಂಭ್ರಮದಲ್ಲಿದ್ದ ಗ್ರಾಹಕರು ಇದೀಗ ಖರೀದಿ ಪ್ರಕ್ರಿಯೆಯಿಂದ ಹಿಂದೆ ಸರಿಯುತ್ತಿರುವುದು ಆಟೋ ಕಂಪನಿಗಳನ್ನು ಚಿಂತೆಗೀಡು ಮಾಡಿದೆ.
MOST READ: ಕಾರು ಖರೀದಿ ಮಾಡುವ ಕರೋನಾ ವಾರಿಯರ್ಸ್ಗೆ ಭರ್ಜರಿ ಆಫರ್ ನೀಡಿದ ಟಾಟಾ

ಇದರಿಂದ ಗ್ರಾಹಕರನ್ನು ಸೆಳೆಯಲು ಆಟೋ ಕಂಪನಿಗಳು ಅತಿ ಸುಲಭವಾದ ಸಾಲ ಸೌಲಭ್ಯ ಸೇರಿದಂತೆ ಹಲವಾರು ಹೊಸ ಆಫರ್ ನೀಡುತ್ತಿದ್ದು, ಟೊಯೊಟಾ ಕೂಡಾ ತನ್ನ ಜನಪ್ರಿಯ ಕಾರುಗಳ ಮೇಲೆ ವಿಶೇಷ ಆಫರ್ಗಳನ್ನು ಘೋಷಣೆ ಮಾಡಿ ಗ್ರಾಹಕರ ಸೆಳೆಯುವ ಯತ್ನಯಲ್ಲಿದೆ.


Click it and Unblock the Notifications