ತ್ರಿಚಕ್ರ ಬೈಕಿಗಾಗಿ ಪೇಟೆಂಟ್ ಅರ್ಜಿ ಸಲ್ಲಿಸಿದ ಕವಾಸಕಿ
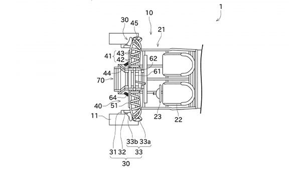
ಜಪಾನಿನ ಬೈಕ್ ತಯಾರಕ ಕಂಪನಿಯಾದ ಕವಾಸಕಿ ಹೊಸ ತ್ರಿಚಕ್ರ ಬೈಕಿಗಾಗಿ ಪೇಟೆಂಟ್ ಅರ್ಜಿ ಸಲ್ಲಿಸಿದೆ. ಪೇಟೆಂಟ್ ರೇಖಾಚಿತ್ರಗಳಲ್ಲಿ ಹಿಂಬದಿ ಸವಾರನಿಗೆ ಹಿಂಬದಿಯ ಬದಲು ಚಾಲಕನ ಪಕ್ಕದಲ್ಲಿ ಸೀಟು ನೀಡಿರುವುದನ್ನು ಕಾಣಬಹುದು.

ಈ ತ್ರಿಚಕ್ರ ಬೈಕ್ ನೋಡಿದ ತಕ್ಷಣ ಯಮಹಾ ನಿಕೆನ್ ತ್ರಿಚಕ್ರ ವಾಹನದಂತೆ ಕಂಡು ಬಂದರೂ ಕವಾಸಕಿಯ ಈ ತ್ರಿಚಕ್ರ ವಾಹನವು ಭಿನ್ನವಾಗಿದೆ. ಈ ತ್ರಿಚಕ್ರ ಬೈಕ್ ಕಾರಿನಂತೆ ಕಾಣುತ್ತದೆ. ಈ ತ್ರಿಚಕ್ರ ಬೈಕ್ ಮುಂಭಾಗದಲ್ಲಿ ಎರಡು ವ್ಹೀಲ್ ಹಾಗೂ ಹಿಂಭಾಗದಲ್ಲಿ ಒಂದು ವ್ಹೀಲ್ ಅನ್ನು ಹೊಂದಿದ್ದು, ಪೋಲಾರಿಸ್ ಸ್ಲಿಂಗ್ಶಾಟ್ ಹಾಗೂ ಕ್ಯಾನ್ಎಂ ಸ್ಪೀಡರ್ನಂತಹ ವಾಹನಗಳನ್ನು ಹೋಲುತ್ತದೆ.

ಸಾಮಾನ್ಯ ತ್ರಿಚಕ್ರ ಬೈಕುಗಳಂತೆಯೇ, ಕವಾಸಕಿಯ ಈ ತ್ರಿಚಕ್ರ ಬೈಕಿನ ಮುಂಭಾಗದ ವ್ಹೀಲ್ಗಳು ಓರೆಯಾಗಿಲ್ಲ. ಇದರಲ್ಲಿರುವ ಚಾಸಿಸ್ ವಾಹನವು ತಿರುಗಿದಾಗ ಬಲಕ್ಕೆ ಮತ್ತು ಎಡಕ್ಕೆ ತಿರುಗುತ್ತದೆ. ಮುಂಭಾಗದ ಎರಡು ವ್ಹೀಲ್ಗಳು, ಎರಡು ಸ್ಪ್ರಿಂಗ್ ಸಸ್ಪೆಂಷನ್ಗಳೊಂದಿಗೆ ಸ್ಟೀಯರಿಂಗ್ ವ್ಹೀಲ್ಗೆ ಸಂಪರ್ಕ ಹೊಂದಿವೆ.
MOST READ:ಕರೋನಾದಿಂದ ಬೈಕ್ ಕಳೆದುಕೊಂಡ ಯುವಕನಿಗೆ ಸರ್ ಪ್ರೈಸ್ ಗಿಫ್ಟ್ ನೀಡಿದ ಟಿವಿಎಸ್

ಈ ಬೈಕಿನ ಎಂಜಿನ್ ಬಗ್ಗೆ ಯಾವುದೇ ಮಾಹಿತಿ ಬಹಿರಂಗವಾಗಿಲ್ಲ. ಈ ತ್ರಿಚಕ್ರ ವಾಹನದಲ್ಲಿ ಪೆಟ್ರೋಲ್, ಎಲೆಕ್ಟ್ರಿಕ್ ಅಥವಾ ಹೈಬ್ರಿಡ್ ಎಂಜಿನ್ಗಳನ್ನು ಬಳಸಬಹುದು. ಎಂಜಿನ್ ಅನ್ನು ಹಿಂಭಾಗದಲ್ಲಿ ಜೋಡಿಸಲಾಗುತ್ತದೆ ಎಂಬುದನ್ನು ಈ ಚಿತ್ರಗಳಲ್ಲಿ ಕಾಣಬಹುದು.

ಆದರೆ ಇವು ಪೇಟೆಂಟ್ನ ಆರಂಭಿಕ ಚಿತ್ರಗಳಾಗಿದ್ದು, ಇವುಗಳನ್ನು ಮುಂಬರುವ ದಿನಗಳಲ್ಲಿ ಬದಲಿಸಲು ಬಹುದು. ಕವಾಸಕಿ ಈ ಪೇಟೆಂಟ್ ಅನ್ನು ಉತ್ಪಾದಿಸುತ್ತದೆಯೇ ಇಲ್ಲವೇ ಎಂಬುದು ಇನ್ನೂ ಖಚಿತವಾಗಿಲ್ಲ.
MOST READ:ಮನೆ ತಲುಪಲು 1800 ಕಿ.ಮೀ ಸೈಕಲ್ ತುಳಿದ ಯುವಕ..!

ಕವಾಸಕಿ ಕಂಪನಿಯ ನಿಂಜಾ 650 ಬಿಎಸ್ 6 ಬೈಕುಗಳನ್ನು ಭಾರತದ ಮಾರಾಟಗಾರರಿಗೆ ತಲುಪಿಸಲಾಗುತ್ತಿದೆ. ಈ ಬೈಕಿನ ಬೆಲೆ ಭಾರತದ ಎಕ್ಸ್ಶೋರೂಂ ದರದಂತೆ ರೂ.6.24 ಲಕ್ಷಗಳಾಗಿದೆ. ನಿಂಜಾ 650 ಬಿಎಸ್ 6 ಬೈಕಿನ ಬೆಲೆ ಬಿಎಸ್ 4 ಮಾದರಿಗಿಂತ ರೂ.35,000 ಹೆಚ್ಚಾಗಿದೆ. ಕವಾಸಕಿ ಕಂಪನಿಯು ಈ ಬೈಕಿನ ಬುಕ್ಕಿಂಗ್ಗಳನ್ನು ಆರಂಭಿಸಿದೆ.

ಮಾರಾಟಗಾರರಲ್ಲಿ ಅಥವಾ ಆನ್ಲೈನ್ನಲ್ಲಿ ರೂ.49,000 ಪಾವತಿಸಿ ಈ ಬೈಕ್ ಅನ್ನು ಬುಕ್ಕಿಂಗ್ ಮಾಡಬಹುದು. ಕವಾಸಕಿ ನಿಂಜಾ 650 ಬೈಕ್ ಅನ್ನು ಹೊಸ ಅವತಾರದಲ್ಲಿ ಬಿಡುಗಡೆಗೊಳಿಸಲಾಗಿದೆ. ಈ ಬೈಕ್ ಮೊದಲಿಗಿಂತ ಹೆಚ್ಚು ಆಕರ್ಷಕ ಹಾಗೂ ಐಷಾರಾಮಿಯಾಗಿ ಕಾಣುತ್ತದೆ. ಲೈಮ್ ಗ್ರೀನ್ ಹಾಗೂ ಪರ್ಲ್ ವೈಟ್ ಬಣ್ಣಗಳಲ್ಲಿ ಮಾರಾಟವಾಗುವ ಈ ಬೈಕಿನ ವಿತರಣೆಯನ್ನು ಶೀಘ್ರದಲ್ಲೇ ಆರಂಭಿಸಲಾಗುವುದು.
ಸೂಚನೆ: ಈ ಚಿತ್ರಗಳನ್ನು ಸಾಂಕೇತಿಕವಾಗಿ ಬಳಸಲಾಗಿದೆ.


Click it and Unblock the Notifications