ಸುರಕ್ಷಿತ ಪ್ರಯಾಣಕ್ಕೆ ಎ-ಸ್ತಂಭಗಳನ್ನು ಪಾರದರ್ಶಕಗೊಳಿಸಲಿದೆ ಟೊಯೊಟಾ
ವಿಜ್ಞಾನ ಮತ್ತು ತಂತ್ರಜ್ಞಾನ ಮುಂದುವರಿದಂತೆ ವಾಹನ ಉತ್ಪಾದನೆಯಲ್ಲೂ ಹೊಸ ಹೊಸ ಸಂಶೋಧನೆಗಳಿಂದ ಸಾಕಷ್ಟು ಬದಲಾವಣೆಗಳನ್ನು ಕಾಣುತ್ತಿದ್ದು, ಇದೀಗ ಟೊಯೊಟಾ ಸಂಸ್ಥೆ ಕೂಡಾ ಮೊದಲ ಬಾರಿಗೆ ಕಾರಿನ ಎ-ಸ್ತಂಭಗಳನ್ನು ಪಾದರ್ಶಕಗೊಳಿಸಲು ಮುಂದಾಗಿದೆ.
ವಿಜ್ಞಾನ ಮತ್ತು ತಂತ್ರಜ್ಞಾನ ಮುಂದುವರಿದಂತೆ ವಾಹನ ಉತ್ಪಾದನೆಯಲ್ಲೂ ಹೊಸ ಹೊಸ ಸಂಶೋಧನೆಗಳಿಂದ ಸಾಕಷ್ಟು ಬದಲಾವಣೆಗಳನ್ನು ಕಾಣುತ್ತಿದ್ದು, ಇದೀಗ ಟೊಯೊಟಾ ಸಂಸ್ಥೆ ಕೂಡಾ ಮೊದಲ ಬಾರಿಗೆ ಕಾರಿನ ಎ-ಸ್ತಂಭಗಳನ್ನು ಪಾದರ್ಶಕಗೊಳಿಸಲು ಮುಂದಾಗಿದೆ.

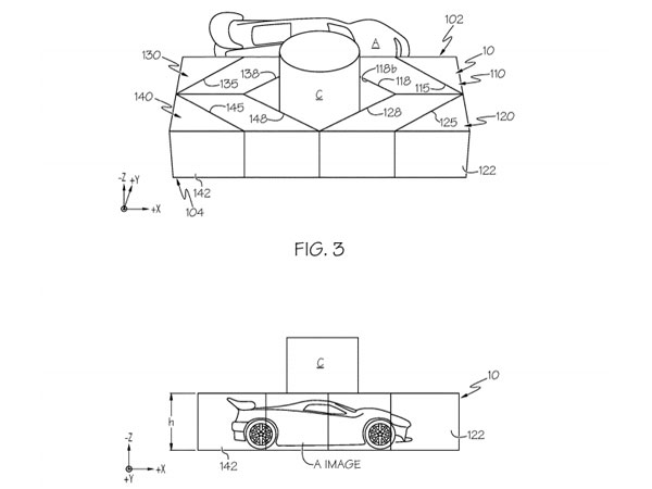
ಕಾರು ಚಾಲನೆ ಸಂದರ್ಭದಲ್ಲಿ ಹೊರ ಭಾಗವನ್ನು ಪೂರ್ಣಪ್ರಮಾಣದಲ್ಲಿ ನೋಡಬಹುದಾದ ಅವಕಾಶವನ್ನು ಕಲ್ಪಿಸಲು ಮುಂದಾಗಿರುವ ಟೊಯೊಟಾ ಸಂಸ್ಥೆಯು, ಎ-ಸ್ತಂಭಗಳನ್ನು ಪಾರದರ್ಶಕಗೊಳಿಸುವ ಹೊಸ ತಂತ್ರಜ್ಞಾನದ ಮೇಲೆ ಪೇಟೆಂಟ್(ಹಕ್ಕು ಸ್ವಾಮ್ಯ) ಪಡೆದುಕೊಂಡಿದೆ.

ಇದಕ್ಕಾಗಿಯೇ ಅಮೆರಿಕದ ಪೇಟೆಂಟ್ ಮತ್ತು ಟ್ರೇಡ್ ಮಾರ್ಕ್ಸ್ ಸಂಸ್ಥೆಯಲ್ಲಿ ಹೊಸ ತಂತ್ರಜ್ಞಾನದ ಮೇಲೆ ಹಕ್ಕುಸ್ವಾಮ್ಯಕ್ಕಾಗಿ ಪತ್ರ ಸಲ್ಲಿಸಿರುವ ಟೊಯೊಟಾ ಸಂಸ್ಥೆಯು, ಮುಂಬರುವ ದಿನಗಳಲ್ಲಿ ತನ್ನ ಹೊಸ ಉತ್ಪನ್ನಗಳಲ್ಲಿ ಪಾರದರ್ಶಕ ಎ-ಸ್ತಂಭಗಳನ್ನು ಪರಿಚಯಿಸಲಿದೆ.

ಹೊಸ ತಂತ್ರಜ್ಞಾನದಿಂದ ಚಾಲಕನಿಗೆ ಚಾಲನೆ ಸಂದರ್ಭದಲ್ಲಿ ಹೊರ ಭಾಗವು ಪೂರ್ಣ ಪ್ರಮಾಣದಲ್ಲಿ ನೋಡಬಹುದಾದ ವ್ಯವಸ್ಥೆ ಇರಲಿದ್ದು, ಇದರಿಂದ ಅನೀರಿಕ್ಷಿತವಾಗಿ ಸಂಭವಿಸಬಹುದಾದ ಅಪಘಾತಗಳ ಸಂಖ್ಯೆಗಳನ್ನು ತಗ್ಗಿಸಬಹುದಾಗಿದೆ.

ಇಂತದ್ದೇ ಮಾದರಿಯ ತಂತ್ರಜ್ಞಾನಗಳನ್ನು ಈ ಹಿಂದಿಯೇ ಬಳಕೆ ಮಾಡಿದ್ದ ಜಾಗ್ವಾರ್ ಮತ್ತು ಲ್ಯಾಂಡ್ ರೋವರ್ ಸಂಸ್ಥೆಯು, ಅರ್ಬನ್ ವಿಂಡ್ಸ್ಕ್ರೀನ್ ಎಂದು ಕರೆಯಲ್ಪಡುವ ಕ್ಯಾಮೆರಾಗಳನ್ನು ಬಳಸಿಕೊಂಡು ಸುರಕ್ಷಿತ ಸಂಚಾರಕ್ಕೆ ಅನುವು ಮಾಡಿಕೊಡಲಾಗಿತ್ತು.
Recommended Video


ಇದಲ್ಲದೇ 2016ರಲ್ಲೇ ಈ ಬಗ್ಗೆ ಮೊದಲ ಬಾರಿಗೆ ಎ-ಸ್ತಂಭಗಳನ್ನು ಪಾರದರ್ಶಕಗೊಳಿಸುವ ಬಗ್ಗೆ ಸುಳಿವು ನೀಡಿದ್ದ ಟೊಯೊಟಾ ಕಾರಣಾಂತರಗಳಿಂದ ವಿನೂತನ ಯೋಜನೆ ಬಗ್ಗೆ ಮೌನವಹಿಸಿತ್ತು. ಆದ್ರೆ ಇದೀಗ ಭವಿಷ್ಯದ ಯೋಜನೆಗೆ ಒತ್ತು ನೀಡಲು ಮುಂದಾಗಿದೆ.

ಡ್ರೈವ್ ಸ್ಪಾರ್ಕ್ ಅಭಿಪ್ರಾಯ
ಕಾರಿನ ಎ-ಸ್ತಂಭಗಳನ್ನು ಪಾರದರ್ಶಕಗೊಳಿಸುವುದರಿಂದ ಸುರಕ್ಷಿತ ಕಾರು ಸಂಚಾರಕ್ಕೆ ಅನೂಕರವಾಗಲಿದ್ದು, ಹೊಸ ಮಾದರಿಯ ತಂತ್ರಜ್ಞಾನಕ್ಕೆ ಮುಂಬರುವ ದಿನಗಳಲ್ಲಿ ಸಾಕಷ್ಟು ಬೇಡಿಕೆ ಸೃಷ್ಠಿಯಾಗುವುದಲ್ಲಿ ಯಾವುದೇ ಅನುಮಾನವಿಲ್ಲ.


Click it and Unblock the Notifications








